津膜科技在业绩说明会上表示,膜分离技术作为高效物理分离手段,广泛应用于市政及工业水处理及资源化、工业特种分离等多个领域,下游应用场景广,市场空间大。近年来配资门户网址,国家持续强化政策支持,密集出台污水资源化、工业节水等专项政策,明确要求提升再生水利用率并扩大非常规水源应用,提出突破高性能膜材料及技术、加快进口替代、发展一带一路等,为膜行业发展构建了坚实的政策基础。预计未来国内膜行业市场将继续保持增长。
举报 第一财经广告合作,请点击这里此内容为第一财经原创,著作权归第一财经所有。未经第一财经书面授权,不得以任何方式加以使用,包括转载、摘编、复制或建立镜像。第一财经保留追究侵权者法律责任的权利。如需获得授权请联系第一财经版权部:banquan@yicai.com 相关阅读国家统计局:3月份,规上工业天然气产量同比增长5.0%
0 04-16 10:12国家统计局:3月份,规上工业原油产量同比增长3.5%
0 04-16 10:11强制员工购买自家车辆?乐道汽车回应
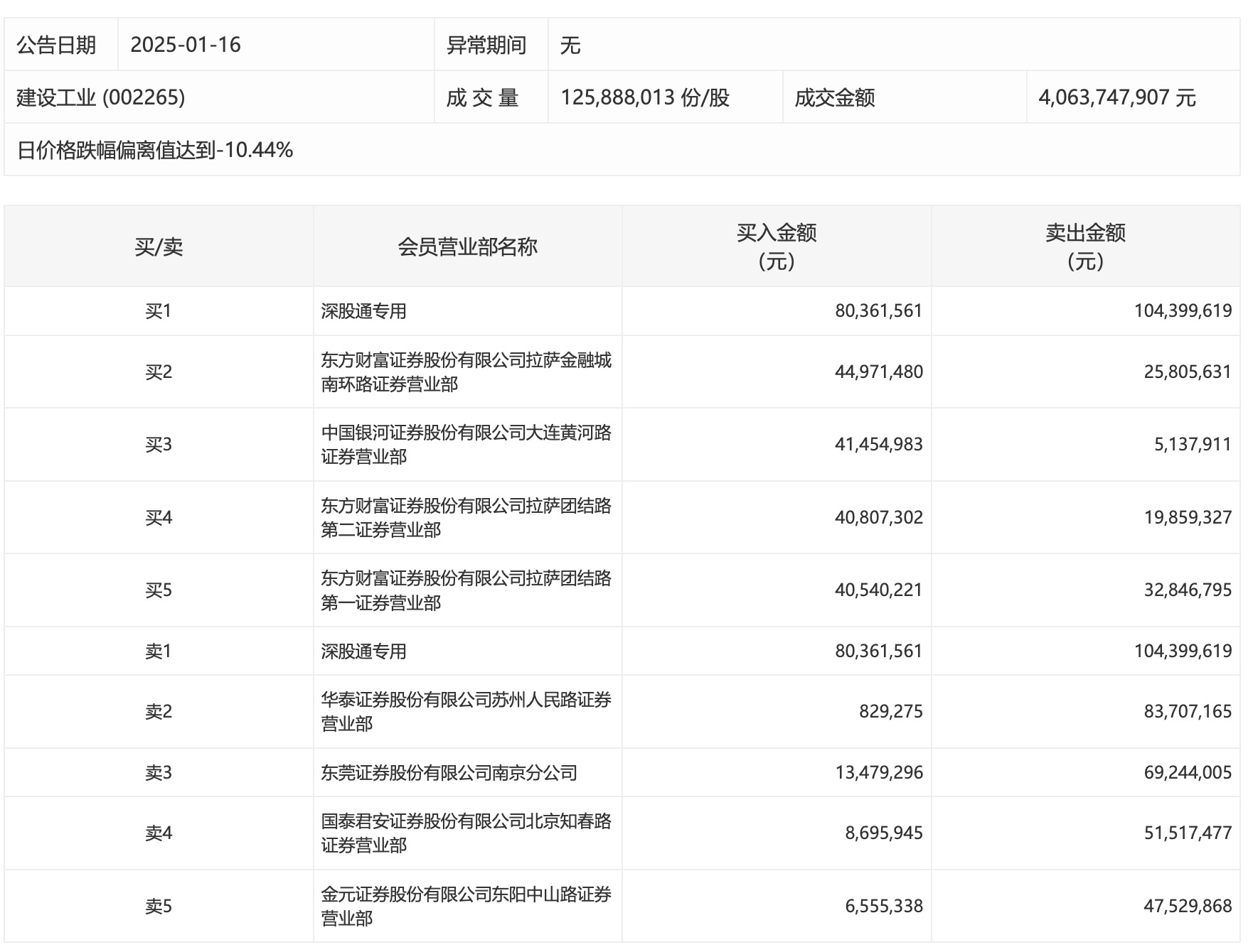
0 01-17 20:21建设工业今日跌停 深股通席位买入8036.16万元并卖出1.04亿元
0 01-16 16:33建设工业今日跌停 深股通专用席位卖出5664.11万元
0 01-13 16:31 一财最热 点击关闭天创网提示:文章来自网络,不代表本站观点。